Гаки промысловые
типа ПА по ОСТ-15-208-78

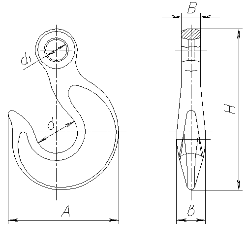
Основные размеры и масса промысловых гаков
типа ПА
Размеры в мм
|
Допускаемая нагрузка, кН (т.с.) |
Н0 | h | d1 | в | Н | Н1 | А | В | d2 | В1 | L | Теоретическая масса, кг. | ||
| гаков | цепок | общая | ||||||||||||
| 6 (0,6) | 169 | 6 | 14 | 17 | 81,0 | 8 | 52,0 | 12 | 10 | 24 | 70 | 0,20 | 0,20 | 0,40 |
| 10 (1,0 | 212 | 9 | 18 | 22 | 104,5 | 11 | 67,0 | 16 | 13 | 30 | 87 | 0,41 | 0,40 | 0,81 |
| 16 (1,6) | 252 | 10 | 22 | 28 | 125,0 | 12 | 82,0 | 20 | 16 | 35 | 105 | 0,77 | 0,76 | 1,53 |
| 25 (2,5) | 307 | 14 | 26 | 35 | 152,0 | 16,0 | 103,0 | 24 | 20 | 44 | 130 | 1,50 | 1,44 | 2,94 |
| 40 (4,1) | 338 | 16 | 32 | 40 | 172,5 | 18,0 | 111,5 | 28 | 22 | 50 | 140 | 1,99 | 1,90 | 3,89 |
| 63 (6,4) | 407 | 20 | 38 | 50 | 212,0 | 22,0 | 141,0 | 32 | 28 | 60 | 170 | 4,00 | 3,72 | 7,72 |
| 80 (8,2) | 426 | 22 | 38 | 50 | 218,0 | 24,0 | 143,0 | 36 | 30 | 60 | 180 | 4,36 | 4,46 | 8,82 |
| 100 (10,2) | 480 | 26 | 42 | 56 | 244,0 | 28 | 160,0 | 40 | 34 | 68 | 204 | 6,03 | 6,47 | 12,50 |
| 125 (12,7) | 544 | 28 | 44 | 63 | 271,0 | 30,0 | 183,0 | 44 | 38 | 75 | 235 | 8,59 | 9,30 | 17,89 |
| 160 (16,3) | 599 | 32 | 52 | 70 | 305,0 | 34,0 | 202,0 | 48 | 42 | 82 | 255 | 10,04 | 12,34 | 22,38 |
=============================================================================================================
Гаки промысловые типа ПБ по ОСТ-15-208-78

Основные
размеры и масса промысловых гаков типа ПБ
Размеры в мм
| Допускаемая нагрузка, кН (т.с.) | d | d1 | в | Н | Н3 | А | В | Теоретическая масса, кг. |
| 25 (2,5) | 40 | 26 | 36 | 179,0 | 32 | 122,5 | 24 | 1,91 |
| 40 (4,1) | 50 | 32 | 40 | 216,5 | 40 | 144,0 | 28 | 2,82 |
| 63 (6,4) | 58 | 28 | 50 | 256,5 | 47 | 171,0 | 32 | 5,23 |
| 80 (8,2) | 65 | 28 | 52 | 272,5 | 52 | 184,5 | 36 | 6,43 |
| 125 (12,7) | 80 | 44 | 65 | 333,0 | 64 | 231,0 | 44 | 11,58 |
| 160 (16,3) | 90 | 50 | 72 | 375,0 | 72 | 259,0 | 50 | 16,53 |
| 200 (20,4) | 100 | 54 | 82 | 413,5 | 80 | 287,0 | 54 | 22,71 |
=============================================================================================================
Гаки промысловые типа ПВ по ОСТ-15-208-78

Основные
размеры и масса промысловых гаков типа ПВ
Размеры в мм
| Допускаемая нагрузка, кН (т.с.) | d | d1 | в | Н | А | В | Теоретическая масса, кг. |
| 6 | 14 | 18 | 18 | 103,5 | 70 | 14 | 0,29 |
| 35 | 18 | 24 | 24 | 133,0 | 89 | 18 | 0,63 |
| 45 | 22 | 30 | 30 | 168,0 | 115 | 20 | 1,17 |
| 58 | 26 | 37 | 37 | 210,0 | 144 | 24 | 2,27 |
| 70 | 32 | 42 | 42 | 246,0 | 165 | 28 | 3,51 |
| 85 | 38 | 52 | 52 | 305,0 | 205 | 32 | 6,39 |
| 100 | 38 | 54 | 54 | 327,0 | 228 | 36 | 8,13 |
=============================================================================================================
Гаки промысловые типа ПГ по ОСТ-15-208-78

Основные
размеры и масса промысловых гаков типа ПВ
Размеры в мм
| Допускаемая нагрузка, кН (т.с.) | d | d1 | а | в | Н | А | В | Теоретическая масса, кг. |
| 10 (1,0) | 60 | 18 | 30 | 25 | 169 | 120 | 18 | 1,06 |
| 16 (1,6) | 80 | 22 | 40 | 32 | 215 | 156 | 20 | 2,23 |
| 25 (2,5) | 100 | 26 | 50 | 40 | 269 | 196 | 24 | 4,30 |
============================================================================================================
Гаки промысловые типа ПД по ОСТ-15-208-78

Основные
размеры и масса промысловых гаков типа ПВ
Размеры в мм
| Допускаемая нагрузка, кН (т.с.) | d | d1 | d2 | в | Н | А | В | Теоретическая масса, кг. |
| 10 (1,0) | 20 | 18 | 14 | 22 | 111,0 | 81 | 16 | 0,44 |
| 16 (1,6) | 26 | 22 | 16 | 28 | 144,5 | 108 | 20 | 1,00 |
| 25 (2,5) | 32 | 26 | 20 | 36 | 178,0 | 130 | 24 | 1,74 |
| 40 (4,0) | 40 | 32 | 24 | 40 | 204,0 | 157 | 28 | 2,70 |